汽车
标签
2022新能源
全部
新车
试车
导购
自媒体
车致
用车
行业
行情
自驾游
文章
找车
排行榜
试驾
团购
视频
图片
经销商
二手车
查违章
新浪买车
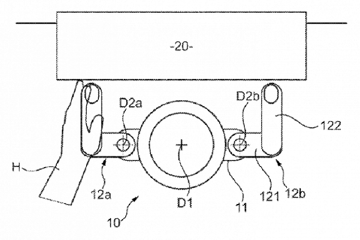
比特斯拉旋转角度更大,宝马为奇怪的“轭式方向盘”申请专利
2022-01-15 11:00:00
比汽油版更好开却牺牲部分空间续航338公里的轩逸纯电怎么样
2022-01-15 10:58:04
终于找到特斯拉ModelX充电口了,可是怎么打开呢?
2022-01-15 10:52:27
特斯拉自动辅助驾驶,智能无人驾驶系统,这次算是见识到了!
2022-01-15 10:51:49
2021款丰田威飒Venza到货,还是混动的,选它还是RAV4自己看!
2022-01-15 10:34:01
吉利与沃尔沃结合造最美混动轿跑连车标都给换了!
2022-01-15 10:07:26
给AITO问界M5让路?心疼成为韭菜的SF5车主们...
2022-01-15 10:00:03
宝马i8与迈巴赫6大展览,总有一款你喜欢的在等你
2022-01-15 09:55:25
精致的紧凑级纯电SUV奔驰EQA低伪谍照曝光
2022-01-15 09:43:58
这辆比亚迪元Pro的防撞梁基本就是廉价车应该的样子……
2022-01-15 09:43:44
女土豪刚提的宝马i8超跑,坐进车里看看豪华的内饰!
2022-01-15 09:43:24
吉利电动汽车貌似也可以
2022-01-15 09:42:49
猜猜哪台特斯拉领先哈
2022-01-15 09:39:40
名爵6插电混动豪华互联网新能源轿车,好用更好玩
2022-01-15 09:34:52
精明奥迪e-tron汽车,高端唯美,专享型图片
2022-01-15 09:21:52
特斯拉高性能版和它跑04哪个更快?
2022-01-15 09:20:49
特斯拉超越丰田,靠的是什么?看完之后,恍然大悟
2022-01-15 09:15:46
都市精灵众泰E200Pro
2022-01-15 09:15:28
“光速”普及的电动汽车 “龟速”布局的充电网络
2022-01-15 09:05:01
凯旋!逸动EV460演绎长安速度
2022-01-15 09:03:20
【天天资讯】售12.97万元,2022款几何C正式上市
2022-01-15 08:56:44
【天天资讯】售6.98-8.13万元,2022款欧拉黑猫新增车型上市
2022-01-15 08:51:36
扬言赶超“宁王”!LG新能源与本田结盟在美合建电池厂
2022-01-15 08:49:42
【天天资讯】科技感更浓,宝马iX M60官图发布
2022-01-15 08:44:55
欣赏法拉利首款混动车型:SF90,最大马力一千匹
2022-01-15 08:38:45
【天天资讯】售2.99万起,奇瑞QQ冰淇淋正式上市
2022-01-15 08:36:38
丰田和比亚迪联手推出第一款新能源车型,特斯拉地位将要被动摇?
2022-01-15 08:36:20
来了一辆特拉斯MODEL3,熏黑运动轮毂,罕见的粉色引来围观
2022-01-15 08:34:34
比亚迪唐EV强势来袭,百公里加速4.5S,续航可达600公里
2022-01-15 08:32:39
「光速」普及的电动汽车,「龟速」布局的充电网络 | 海外周选
2022-01-15 08:32:09
1
...
1344
1345
1346
1347
...
1468
还有3个信息需要填写哦~
底价将以短信的形式发送到您的手机
个人信息不会泄露给第三方
品牌
车系
车型
城市
地区
获取底价
还有3个信息需要填写哦~
订阅信息将以短信的形式发送到您的手机
个人信息不会泄露给第三方
品牌
请选择车系
订阅车型